六欣 开云电竞首存活动集研发/生产/销售服务于一体

全国服务热线400-892-2003189-2584-2597

ebay开云

热搜关键词: 分度卡盘 IM电竞开云 hth开云电竞 ebay开云棋牌

cnc加工中心的功能用途和分类有哪些,(cnc加工中心主要用途是什么)

来源:六欣开云电竞首存活动 | 发布日期:2022-07-03

1.主要用途:箱体类零件和繁杂斜面零件的加工。

2.作用:铣镗、钻、攻螺纹等。因为它具备全自动换刀作用,产品一次夹装后,能全自动地进行或是贴近进行产品工件各面的全部加工工艺流程。

3.归类:

(1)按结构形式能够分成:

1)立柱式加工核心

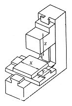
①纵坐标健身运动具备二种方法:a.X、Y方位工作台挪动、Z方位主轴箱挪动;(图5.2)b.动立杆加工核心:工作台固定不动,X、Y和Z方向的健身运动由主轴立杆和主轴箱挪动来完成。

cnc加工中心的功能用途和分类

图5.2 立式加工中心运动轴示意图

cnc加工中心的功能用途和分类

图5.3 JCS-018A型立式加工中心外观图
1-X轴的直流伺服电动机 2-换刀机械手 3-数控柜 4-盘式刀库 5-主轴箱
6-操作面板 7-驱动电源柜 8-工作台 9-滑座 10-床身

②刀库: (图5.4)立柱式加工核心的刀库有不一样的方式,每个方式的刀库能够承载的数控刀片总数差别比较大,请在一定程度上决定了加工核心加工工作能力的高低。

cnc加工中心的功能用途和分类

图5.4 刀库  a b c d e f )盘式刀库  g h I j) 链式刀库  k)格子式刀库

2)立式加工核心

①立式加工核心的刀库一般为链条式构造,刀库容积比较大。

②应用面更加普遍,可加工歪曲面,壳体等繁杂零件,比如水轮发电机组离心叶轮的加工。

cnc加工中心的功能用途和分类


图5.5 卧式加工中心
1-主轴头 2-刀库  3-立柱  4-立柱底座  5-工作台  6-工作台底座


3)立立式加工核心

①立立式加工核心——是运用镗刀的立卧变换组织完成从立柱式加工方法变换为立式加工方法或从立式加工方法变换为立柱式加工方法。

②这类加工核心的加工可用面更加广泛性。

cnc加工中心的功能用途和分类


图5.6 立卧式加工中心 5轴运动方向示意
a)主轴可做90°旋转 b) 工作台带工件可做90°旋转

(2)按功能分类:

1)主轴方式:有人下单主轴、双主轴或三主轴;

2)工作台方式: 单工作台

3)双工作台拖盘交换系统

4)多工作台拖盘交换系统。

5)刀库方式: 管式刀库

6)链条式刀库构成:数控机床、人体、主轴、走刀系统软件、刀库、换刀组织、控制面板、拖盘交换系统(或工作台)和辅助系统等。

六欣开云电竞首存活动,专注卡盘行业十几年,主要代理经销进口液压卡盘、气动卡盘、手动卡盘、回转油缸以及硬爪软爪等配件;公司成立至今服务企业超10000+客户,公司自有资深技术工程师,拥有丰富的实践经验,可需求非标定制各类型夹具。

【本文标签】 cnc加工中心的功能用途和分类 cnc加工中心

【责任编辑】六欣开云电竞首存活动

最新资讯

Baidu
map